Sea-Dog Line 412328W3 Waterproof 12V Wiper Motor 2-1/2" Shaft White

Manufacturer

Sea-Dog Line

Part Number

412328W3
04/07/2036 7:18 PM
Sale Price

$121.66

In Stock (6)

delivery box

Usually delivered within 2 days

free shipping

FREE SHIPPING

Authorize Seller Badge
No Hassle Returns

No Hassle Returns

Live-in-stock inventory

Live-in-stock inventory

Fitment guaranteed

Fitment guaranteed

Product Details

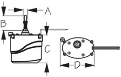
The Sea-Dog Line 412328W3 is a waterproof standard wiper motor designed for exterior and unprotected marine locations. Built to withstand harsh marine environments, this 12V motor features a corrosion-resistant powder-coated aluminum housing with a stainless steel mounting base and a durable white finish.

Key Features:

  • Waterproof construction ideal for exposed marine applications
  • Adjustable sweep angle preset at 80° or 110° from factory
  • Can be reset to 40°, 50°, 60°, 70°, 80°, 90°, or 110° sweep angles
  • 2-1/2 inch shaft length for compatibility with various wiper arms
  • Powder-coated aluminum housing resists corrosion and weathering
  • Stainless steel base provides secure, rust-free mounting
  • 12-volt DC operation for standard marine electrical systems

This versatile wiper motor provides reliable windshield clearing performance for boats, RVs, and other marine vessels. The adjustable sweep angle allows customization to match your windshield configuration, while the weatherproof construction ensures long-lasting operation in saltwater and harsh weather conditions.

Products specifications

Description

Motor Only

Easily found product, was alerted when part would not fit designated vehicle. Did not find place to request a catalog.

Fast Communication

Great price on hard to find item.

Great price and shipping

looks like what i need ..using smittybuilt top hope it fits good best price i found

Easy to order!

Good

One of the view online retailers that had the parts

Very easy ordering

Share icon
Return Policy
Returns are easy at Boatplicity

Not happy with a purchase? No problem. We've made returning items as easy as possible. And most purchases can be returned for free for 30 days. Learn more about our Returns Policy