Sea-Dog Line 204279-1 Chrome Brass Take-Apart Hinge

Manufacturer

Sea-Dog Line

Part Number

204279-1
04/04/2036 5:53 AM
Sale Price

$33.34

In Stock (10+)

delivery box

Usually delivered within 2 days

Authorize Seller Badge
No Hassle Returns

No Hassle Returns

Live-in-stock inventory

Live-in-stock inventory

Fitment guaranteed

Fitment guaranteed

Product Details

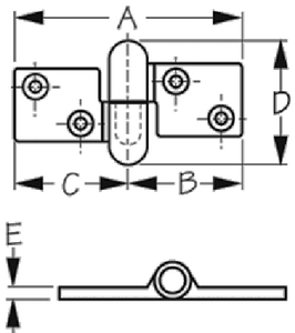
The Sea-Dog Line 204279-1 is a chrome-plated forged brass take-apart hinge designed for marine applications where easy removal is essential. This innovative hinge allows doors or lids to be removed after installation without having to remove the fasteners, making it ideal for hatches, access panels, and cabinet doors that need to be taken off for maintenance or storage.

Key Features:

  • Take-apart design enables door or lid removal without removing fasteners
  • Chrome-plated forged brass construction for corrosion resistance and durability in marine environments
  • Surface mount installation for easy attachment
  • Can be mounted horizontally or vertically for flexible applications
  • Installs with four #10 flat head fasteners (not included)

This versatile marine-grade hinge is perfect for boat cabinets, hatches, cooler lids, and other applications where you need the convenience of removable doors without the hassle of repeatedly installing and removing screws. The chrome finish provides an attractive appearance while the solid brass construction ensures long-lasting performance in saltwater conditions.

Great Price!

easy deal!!

Good

Product received as described. Fast shipping! I will definitely purchase from Autoplicity again.

Fast. Easy to use website.

Quick and easy so far, we'll see about delivery

Placed an order with Adam on Monday, Nov 28th (#601). Very satisfied with Adam's technical knowledge and received my product on Nov 29th. The product is exactly as he represented and, because of this great customer service, I will place future orders.

easy

great

Easy and fast ordering

Share icon
Return Policy
Returns are easy at Boatplicity

Not happy with a purchase? No problem. We've made returning items as easy as possible. And most purchases can be returned for free for 30 days. Learn more about our Returns Policy